亚洲麻豆精品,网友自拍视频,久久av中文,黄色高清无遮挡,亚洲人成影视在线观看,欧美黄色一级视频

當前位置:首頁 > 裝修百科 > 常見疑問 >

寫字樓辦公室裝修選什么門好?成都辦公室裝修公司給出答復

發布時間:2022-07-08  點擊次數:
前言導讀

寫字樓辦公室裝修在門的選擇上一般選實木套裝門占多數,與醫院裝修不同的是鋼制門具有抗菌作用,然而在辦公室裝修中通常要考慮到工程造價問題,因此建議以實木復合套裝門為主。寫字樓辦公室裝修選什么門好?在這里成都朗煜工裝公司給出以下答復:

       寫字樓辦公室裝修在門的選擇上一般選實木套裝門占多數,與醫院裝修不同的是鋼制門具有抗菌作用,然而在辦公室裝修中通常要考慮到工程造價問題,因此建議以實木復合套裝門為主。寫字樓辦公室裝修選什么門好?在這里成都朗煜工裝公司給出以下答復:
 
寫字樓辦公室裝修效果圖
 

一、注意隔音性能

 
       按照中國城市各類區域中允許的環境噪聲級標準來看,商業寫字樓中心區及二類混合區的等效A生級給出的參數我們不難發現,白天對分唄值的控制要求是60dB,夜間是50dB。然而在寫字樓的辦公室內,對噪聲的防護通常是由隔墻、門承擔,考慮到各木門生產廠家的生產方式不同,同一材質分類下的門型差別也很大,例如辦公室裝修選擇的如果是實木套裝門,隔音性能之間誤差在正負10dB很常見。
 
寫字樓辦公室裝修效果圖
 

二、注意環保問題

 
       寫字樓辦公室裝修在選門時通常需要去重點關注選材方面的環保問題,無毒、無味是基本挑選原則。門內的紋理特性是由芯材所決定的,造型越復雜的門也不見得保溫、隔音、環保方面比普通木門好,因此判斷環保問題是否達標的標準往往取決于含水率低于12%這個數值。
 
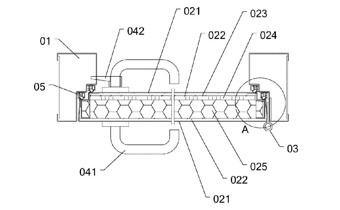
木門隔音、防火構造圖
 

三、注意防火性能

 
       辦公室門在選擇上必須關注其燃燒性能和耐火極限是否符合消防申報及竣工驗收標準,一般來說寫字樓辦公室裝修只對吊頂、地面及隔墻等有安檢要求,而門和窗戶作為寫字樓辦公室的基礎附加構建物其實不用考慮防火要求,但連通寫字樓內的重要通道必須使用具有一定耐火等級標準的防火門。
 
寫字樓辦公室裝修
 

四、注意選門價格

 
       門的價格多少通常從幾百到上千不等,如實木套裝平開門的價格一般在800-1500元,為此給寫字樓辦公室選擇什么樣的門型材質就完全取決于對該裝飾裝修工程在目標控制價上的決定。
本網站/文章提供的所有信息僅供參考,我們不對其準確性、完整性、有效性、及時性或適用性作任何形式的保證或承擔任何責任。用戶在使用本網站/文章信息時應自行判斷,并承擔因此產生的風險及責任。我們保留隨時修改或更新網站/文章內容而不另行通知的權利。

更多內容閱讀